Dentro de las energías renovables, uno de los mayores retos hoy en día, es el almacenamiento de este tipo de energías limpias. En ese contexto, la Universidad Politécnica de Madrid, se ha centrado en la energía térmica y nos ha presentado la siguiente invención: Almacenamiento de energía térmica mediante condensador-generador de vapor reversible.
La invención se encuadra en el campo de la Ingeniería térmica, y más concretamente en las instalaciones en las que se genera un vapor de alta entalpía por cualquier medio, y dicho vapor no puede usarse en su totalidad en un momento dado, por lo que se ha de aliviar a la atmósfera, si no se puede almacenar. Un importante caso de este tipo es el de las centrales termosolares, tanto si están destinadas para generación de electricidad como a usos térmicos directos, típicamente de tipo industrial.
Hay varios ámbitos industriales, donde se dispone de una fuente de calor que no es totalmente regulable o gestionable por el operador de la planta, como es el caso, muy señalado dentro de las energías renovables, de las instalaciones termosolares de alta temperatura, especialmente si están destinadas a la generación de electricidad.
El problema que específicamente se quiere resolver es el del almacenamiento de energía térmica a partir de vapor (fundamentalmente, vapor de agua), y la ruta térmica que se va a proponer pasa por la condensación del vapor a alta presión, por transferencia térmica a un fluido secundario que va a adquirir a la salida del condensador una temperatura no muy lejana de la de condensación del agua, que ocurre en el lado primario del condensador.
Eso significa que habrá en realidad dos áreas técnicas a considerar: la del almacenamiento térmico en sí, en particular el que se produce con cambio de fase, y la de los condensadores de vapor.
- Descripción de la invención
La invención consiste en estructurar una planta de generación de vapor, para el uso que sea, con inclusión de un sistema central de almacenamiento térmico que comprende:
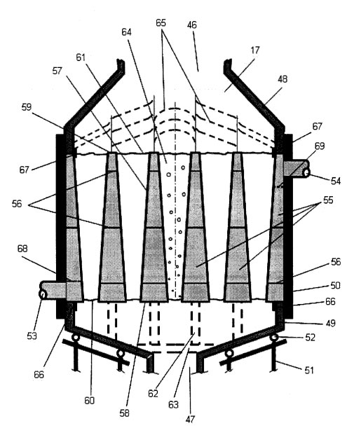
– Un tambor de separación del vapor saturado, con tres posibles alternativas de salida, que corresponden a: la recirculación del líquido, al conducto de vapor hacia su aplicación o finalidad, y al conducto de vapor hacia un intercambiador específico, de flujo reversible.
– Dicho intercambiador de calor, de flujo reversible tanto en su circuito primario como en el secundario, actuando como condensador cuando el fluido primario tiene una trayectoria descendente, o actuando como generador de vapor cuando el fluido primario va en trayectoria ascendente, teniendo estructuralmente una disposición vertical de carcasa y tubos, siendo los tubos troncocónicos, con la boca de menor diámetro abajo, y yendo dichos tubos desde una placa base inferior a una placa base superior, y siendo el fluido primario el que circula por dentro de los tubos.
– Un subsistema del fluido secundario de dicho intercambiador reversible, consistente en dos tanques de almacenamiento del fluido térmico que se use, seleccionado este fluido entre aceite y sales fundidas, u otra sustancia que sea líquida en el nivel de temperaturas de operación que se fije en cada caso, estando unidos los tanques por un conducto o tubería que atraviesa el intercambiador reversible, actuando siempre uno de ellos como tanque de baja temperatura, y otro como tanque de alta temperatura, yendo el fluido secundario del tanque de baja al de alta cuando el intercambiador actúa como condensador, y yendo el fluido secundario del tanque de alta al de baja cuando el intercambiador actúa como generador de vapor; moviéndose el fluido secundario, seleccionado entre sal fundida, aceite industrial o cualquier otra sustancia estable como líquido a las temperaturas de operación, por la parte exterior de los tubos, entre éstos y la carcasa, siempre de forma predominantemente vertical.
– Un conducto de evacuación desde el tambor de separación, a través del circuito primario intercambiador reversible, hasta el depósito de condensado a alta presión y alta temperatura, estando provisto este conducto de una válvula que sólo está abierta cuando el intercambiador actúa como condensador.
– Un depósito de condensado a alta presión y alta temperatura.
– Una bomba de evacuación del condensado en dicho conducto de evacuación, que estimula la tasa de fluido evacuado, y mantiene el nivel de la superficie libre de líquido, en dicho intercambiador reversible, a la altura de la placa base inferior del intercambiador, cuando éste actúa como condensador.
– Un conducto de reposición del vapor, que toma líquido desde el depósito de condensado, lo inyecta en el circuito primario del intercambiador reversible, que actúa en el modo de generador de vapor, y del cual emerge hacia los usos ordinarios del vapor que haya en la planta, estando provisto este conducto de una válvula que sólo está abierta cuando el intercambiador actúa como generador de vapor.
– Una bomba de inyección desde el depósito de condensado hasta el circuito primario del intercambiador reversible, que mantiene el nivel de la superficie libre de líquido, en el circuito primario de dicho intercambiador, a la altura de la placa base superior del intercambiador, cuando éste actúa como generador de vapor.
FUENTE | www.oepm.es
http://www.economiadelaenergia.com/





















