Un análisis de sangre significa que la persona ha de pedir la cita para que se lo realicen, se tome la muestra y ésta se traslade al laboratorio para ser analizada. Unos días más tarde, el paciente recibe los resultados.
Google trabaja en un nuevo método, basado en un implante subcutáneo, que permite realizar análisis no invasivos sin necesidad de acudir al centro de salud para realizar las pruebas médicas y que pretende dejar atrás los análisis de sangre.
Un análisis de sangre significa que la persona ha de pedir la cita para que se lo realicen, se tome la muestra y ésta se traslade al laboratorio para ser analizada. Unos días más tarde, el paciente recibe los resultados.
La compañía tecnológica trabaja en un nuevo sistema que permita simplificar el procedimiento, con un implante subcutáneo capaz de realizar un análisis del líquido intersticial –el líquido que hay en el espacio entre células–, en lugar de la sangre, y de enviar la información a un dispositivo externo, un lector que obtiene los resultados.

Esta forma «provee una técnica no invasiva para monitorizar los niveles de los biomarcadores», especialmente si se compara con los tradicionales análisis de sangre, que requieren de una extracción de la sangre y de su análisis «fuera del cuerpo de una persona», como puede leerse en el texto de la patente de Google.
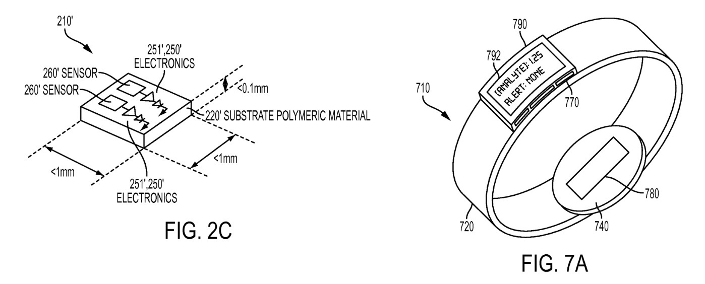
Este no es el primer sistema de análisis en el que trabaja la compañía. Hace unos meses se pudo conocer otra patente, en la que la compañía muestra una pulsera con un dispositivo que realiza una punción, similar a «una picadura de mosquito». Esta punción extrae muy poca cantidad de sangre y no es percibida por el usuario, lo que hace que este método esté indicado para quienes tienen miedo de las agujas.
ep





















